Product Summary
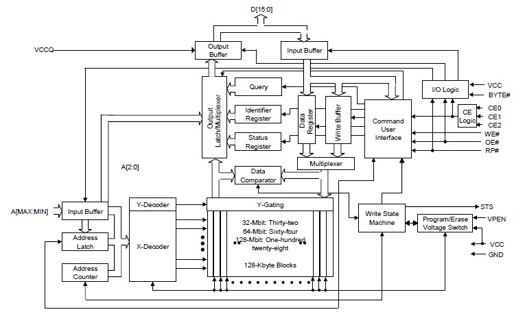
The JS28F256J3F105A is an Intel StrataFlash memory. The JS28F256J3F105A contains high-density memories organized as 32 Mbytes or 16Mwords (256-Mbit, available on the 0.18μm lithography process only), 16 Mbytes or 8 Mwords (128-Mbit), 8 Mbytes or 4 Mwords (64-Mbit), and 4 Mbytes or 2 Mwords (32-Mbit). The JS28F256J3F105A can be accessed as 8 or 16-bit words. The JS28F256J3F105A is organized as one-hundredtwenty- eight 128-Kbyte (131,072 bytes) erase blocks. The JS28F256J3F105A is organized as sixtyfour 128-Kbyte erase blocks while the 32-Mbit device contains thirty-two 128-Kbyte erase blocks. A 128-bit Protection Register has multiple uses, including unique flash device identification. The JS28F256J3F105A optimized architecture and interface dramatically increases read performance by supporting page-mode reads. This read mode is ideal for non-clock memory systems.
Parametrics
JS28F256J3F105A absolute maximum ratings: (1)Temperature under Bias Extended: -40 ℃ to +85 ℃; (2)Storage Temperature: -65 ℃ to +125 ℃; (3)Voltage On Any signal: -2.0 V to +5.0 V; (4)Output Short Circuit Current: 100 mA.
Features
JS28F256J3F105A features: (1)110/115/120/150 ns Initial Access Speed; (2)125 ns Initial Access Speed (256 Mbit density only); (3)25 ns Asynchronous Page mode Reads; (4)30 ns Asynchronous Page mode Reads (256Mbit density only); (5)Program and Erase suspend support; (6)Flash Data Integrator (FDI), Common Flash Interface (CFI)Compatible; (7)128-bit Protection Register; (8)64-bit Unique Device Identifier; (9)64-bit User Programmable OTP Cells; (10)Absolute Protection with VPEN = GND; (11)Individual Block Locking; (12)Block Erase/Program Lockout during Power Transitions.
Diagrams

| Image | Part No | Mfg | Description | ![]() |
Pricing (USD) |
Quantity | ||||||
|---|---|---|---|---|---|---|---|---|---|---|---|---|
![]() |
![]() JS28F256J3F105A |
![]() |
![]() IC FLASH 256MBIT 105NS 56TSOP |
![]() Data Sheet |
![]()
|
|
||||||
| Image | Part No | Mfg | Description | ![]() |
Pricing (USD) |
Quantity | ||||||
![]() |
![]() JS28F00AM29EWH0 |
![]() |
![]() IC FLASH 1GBIT 110NS 56TSOP |
![]() Data Sheet |
![]() Negotiable |
|
||||||
![]() |
![]() JS28F00AM29EWHA |
![]() |
![]() IC FLASH 1GBIT M29EW 56TSOP |
![]() Data Sheet |
![]()
|
|
||||||
![]() |
![]() JS28F00AM29EWL0 |
![]() |
![]() IC FLASH 1GBIT 110NS 56TSOP |
![]() Data Sheet |
![]() Negotiable |
|
||||||
![]() |
![]() JS28F00AM29EWLA |
![]() |
![]() IC FLASH 1GBIT M29EW 56TSOP |
![]() Data Sheet |
![]()
|
|
||||||
![]() |
![]() JS28F00AP30BFA |
![]() |
![]() IC FLASH 1GBIT P30 65NM 56TSOP |
![]() Data Sheet |
![]()
|
|
||||||
![]() |
![]() JS28F00AP30EF0 |
![]() |
![]() IC FLASH 1GBIT 110NS 56TSOP |
![]() Data Sheet |
![]() Negotiable |
|
||||||
(China (Mainland))








