Product Summary
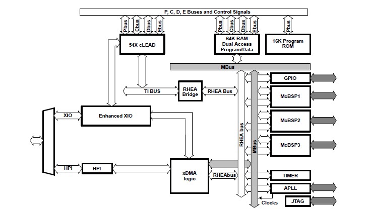
The TMS320VC5410APGE16 is a fixed-point, digital signal processor (DSP) (hereafter referred to as the TMS320VC5410APGE16 unless otherwise specified) is based on an advanced modified Harvard architecture that has one program memory bus and three data memory buses. The TMS320VC5410APGE16 provides an arithmetic logic unit (ALU) with a high degree of parallelism, application-specific hardware logic, on-chip memory, and additional on-chip peripherals. The basis of the operational flexibility and speed of this DSP is a highly specialized instruction set. Separate program and data spaces allow simultaneous access to program instructions and data, providing a high degree of parallelism. Two read operations and one write operation can be performed in a single cycle. Instructions with parallel store and application-specific instructions can fully utilize this architecture. In addition, data can be transferred between data and program spaces. Such parallelism supports a powerful set of arithmetic, logic, and bit-manipulation operations that can all be performed in a single machine cycle. The TMS320VC5410APGE16 also includes the control mechanisms to manage interrupts, repeated operations, and function calls.
Parametrics
TMS320VC5410APGE16 absolute maximum ratings: (1)DVDD Supply voltage I/O range: - 0.3 V to 4.0 V; (2)CVDD Supply voltage core range: - 0.3 V to 2.0 V; (3)VI Input voltage range: - 0.3 V to 4.5 V; (4)VO Output voltage range: - 0.3 V to 4.5 V; (5)TC Operating case temperature range: - 40℃ to 100℃; (6)Tstg Storage temperature range: - 55℃ to 150℃.
Features
TMS320VC5410APGE16 features: (1)Advanced Multibus Architecture With Three Separate 16-Bit Data Memory Buses and One Program Memory Bus; (2)40-Bit Arithmetic Logic Unit (ALU)Including a40-Bit Barrel Shifter and Two Independent 40-Bit Accumulators; (3)Parallel Multiplier Coupled to a 40-Bit Dedicated Adder for Non-Pipelined Single-Cycle Multiply/Accumulate (MAC)Operation; (4)Compare, Select, and Store Unit (CSSU)for the Add/Compare Selection of the Viterbi Operator; (5)Exponent Encoder to Compute an Exponent Value of a 40-Bit Accumulator Value in a Single Cycle; (6)Instructions With a 32-Bit Long Word Operand; (7)Instructions With Two- or Three-Operand Reads; (8)Arithmetic Instructions With Parallel Store and Parallel Load; (9)Conditional Store Instructions.
Diagrams

| Image | Part No | Mfg | Description | ![]() |
Pricing (USD) |
Quantity | ||||||||||||
|---|---|---|---|---|---|---|---|---|---|---|---|---|---|---|---|---|---|---|
![]() |
![]() TMS320VC5410APGE16 |
![]() Texas Instruments |
![]() Digital Signal Processors & Controllers (DSP, DSC) Dig Sig Proc |
![]() Data Sheet |
![]()
|
|
||||||||||||
| Image | Part No | Mfg | Description | ![]() |
Pricing (USD) |
Quantity | ||||||||||||
![]() |
![]() TMS3112 |
![]() Other |
![]() |
![]() Data Sheet |
![]() Negotiable |
|
||||||||||||
![]() |
![]() TMS3121 |
![]() Other |
![]() |
![]() Data Sheet |
![]() Negotiable |
|
||||||||||||
![]() |
![]() TMS320 |
![]() Other |
![]() |
![]() Data Sheet |
![]() Negotiable |
|
||||||||||||
![]() |
![]() TMS32010 |
![]() Other |
![]() |
![]() Data Sheet |
![]() Negotiable |
|
||||||||||||
![]() |
![]() TMS320AV7110 |
![]() Other |
![]() |
![]() Data Sheet |
![]() Negotiable |
|
||||||||||||
![]() |
![]() TMS320BC51PQ100 |
![]() Texas Instruments |
![]() Digital Signal Processors & Controllers (DSP, DSC) TMS320C51PQ - 132QFP - 100MHZ/BOOT CODE |
![]() Data Sheet |
![]() Negotiable |
|
||||||||||||
(China (Mainland))








